欢迎加入买买VIP联盟
亲,请登录
或
免费注册
|
联系客服
搜淘宝
搜京东
搜拼多多
搜唯品会
搜索
今日热搜:
35021984
84467
50131027
0791
71.5
1306
微信扫一扫
关注微信公众号
查券更方便
首页
9块9包邮
超级人气榜
品牌优惠券
淘宝优惠券
京东优惠券
拼多多券
优惠券头条
线报捡漏
01月23日:小龙坎调料任选10件 14.9 - 折1.4元/袋
01月23日:美丽雅垃圾袋100只4.9
01月23日:沪上阿姨香香软软小面包 6件 券后13.98
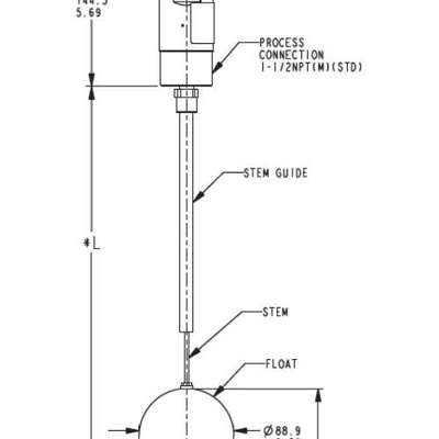
(QK-AXYC-155) 液位开关 西安秦控液位开关
6元
¥6
活动结束时间:01-01 08:00
累计销量 :
0
件
TAG标签:
液位开关
西安
秦控
AXYC
立即领券
复制优惠
手机淘宝扫码领券购买
商品详情
特别推荐
Childlife童年时光藻油DHA4瓶
原价¥892
1000
件
160元券
¥
732
【除甲流H3N2】0酒精除病毒湿巾
原价¥19.2
3000
件
2元券
¥
17.2
嫚熙童装儿童夹棉外套秋冬加厚保暖棉服男女童翻领棒球服三防夹克
原价¥469.9
700
件
10元券
¥
459.9
倍爱健牙龈精华牙膏告别牙龈危机
原价¥87.4
1000
件
5元券
¥
82.4
禾泱泱婴幼儿布蕾布丁宝宝辅食
原价¥149
1000
件
23元券
¥
126
中养说暖腹腰带暖肚子神器热敷
原价¥59.8
1000
件
33元券
¥
26.8
花王15分钟快洗抗菌洁霸洗衣液
原价¥189.9
4000
件
3元券
¥
186.9
ibaby恒温深睡婴儿睡袋
原价¥319
9000
件
20元券
¥
299
性感蕾丝内衣聚拢上托调整型胸罩
原价¥99
100
件
60元券
¥
39
丸美白色之恋水乳套装美白淡斑
原价¥290
1000
件
20元券
¥
270
雅顿白茶香水香氛系列
原价¥260
2000
件
20元券
¥
240
雅顿白茶金致香水女士EDP
原价¥290
700
件
20元券
¥
270